客(kè)戶服務
| 地址: | 河北省(shěng)泊頭市道東青春美❌少女人体艺术🌈街88号(hao) |
| 電話: | 0317-8185077 |
| 0317-8263980 | |
| 0317-8223128 | |
| 傳真: | 0317-8265584 |
| E-mail: | [email protected] |

| 地址: | 河北省(shěng)泊頭市道東青春美❌少女人体艺术🌈街88号(hao) |
| 電話: | 0317-8185077 |
| 0317-8263980 | |
| 0317-8223128 | |
| 傳真: | 0317-8265584 |
| E-mail: | [email protected] |
| 螺杆泵結構(gòu)圖 |
| 發布時間:2017-7-16 15:44:16 點擊(ji)次數: |
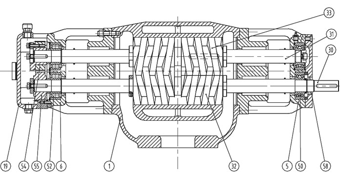
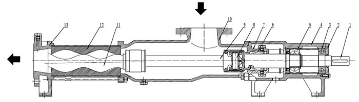
很多客戶在(zài)使用螺杆泵的過(guò)程中,由于使用時(shi)間太長或者🔞誤⛷️操(cāo)作,造成某個部件(jiàn)的損害,但在購買(mǎi)配件過程中,不了(le)解泵的結果或者(zhě)不知道部件的✔️名(ming)稱,造成客戶🚩和商(shang)家✏️溝通不👣暢,為方(fāng)便客戶購買💘配件(jiàn),特将單螺杆泵,雙(shuang)螺杆泵和三螺杆(gǎn)❓泵的結構🈲圖發布(bu)到網站上,供客戶(hu)☎️參考. 一、單螺杆泵(beng): ![]() 1.傳動軸 2.軸承壓蓋(gài) 3.單列軸承 4.托架 5.雙(shuang)列軸承 6.機械密封(fēng) 7.密封腔室 8.萬向節(jie) 9.連接軸 10.吸入管 11.螺(luó)杆 12.襯套 13.壓出管 二(èr)、雙螺杆泵 1.泵體 5.前(qian)軸承座 6.後軸承座(zuo) 19.齒輪箱 30.主動軸 31.從(cong)動軸 32.螺📱旋套(左/右(you)) 33.螺旋套(左/右)50.雙列(lie) 三、三螺杆泵 ![]() 13.從動螺杆 14.擋(dang)圈 15.機械密封 16.軸承(cheng)蓋 17.孔用擋圈 18.軸承(cheng) 19.軸🏃用擋圈 |